一、概述
无论皮带秤的秤架的结构形式如何,都是通过输送机的皮带将物料重量传递给称重托辊,然后再传递给秤架的,所以我们在讨论皮带秤的结构、安装、调整甚至是讨论皮带秤使用情况好坏时,都离不开称重托辊。在谈到皮带秤的秤架的结构时,也常常要说这台秤有几组称重托辊,如单称重托辊、双称重托辊、四称重托辊等等。
现在这里介绍的是西门子公司一种非常特殊的秤架结构形式,西门子公司将其称之为Slider Weigh Deck,中文可称为滑床式秤架。
滑床式秤架使用在比重较轻物料的微流量或小流量场合,通常是在非三节槽形托辊的单平托辊的皮带输送机上或是在平底槽滑床式皮带输送机上将滑床式秤架插入即可。目前查找资料仅西门子公司有此产品,具体的产品型号是WW100称重给料机、WW200称重给料机和WD600皮带秤。
二、滑床式秤架的工作原理
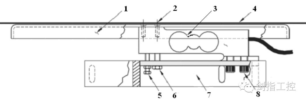
以WW100称重给料机的秤架结构(见图1)为例说明滑床式秤架的工作原理:图1中,与皮带4接触的不再是称重托辊,而直接是滑床式秤架的承重滑床1,它是由白色聚乙烯制成,材质很轻,从而保证皮带与承重滑动托盘之间的摩擦力非常小,减少了皮重而且经久耐用。承重滑床通过螺丝2直接连接到一个称重传感器3的顶部,称重传感器3的底部则用螺丝8在固定底座7上安装[1]。
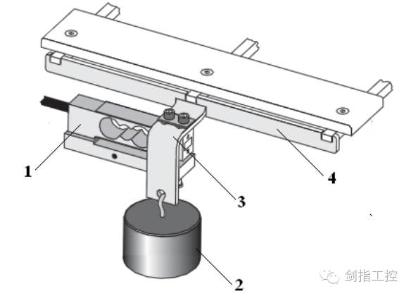
再看看WD600皮带秤的另一种滑床式秤架的结构(见图2),图2中,皮带机纵梁7的方向代表输送机皮带的方向,沿此方向有多根长条形的金属板6,金属板用沉头螺钉固定在3根横梁5上,横梁的两端固定在2根侧板4上,侧板上焊接有带校验砝码吊挂孔3的传力板2,2个称重传感器1的底部固定在皮带机纵梁7上,上部则固定在传力板2上,皮带的宽度为300~1200mm[2]。
图1 WW100称重给料机的滑床式秤架
1-承重滑床;2-称重传感器顶部安装螺丝;3-称重传感器; 4-皮带;5-过载保护螺丝;6-运输用螺丝;7-固定底座;8-称重传感器底部安装螺丝
这两种滑床式秤架虽然结构有小的差别,但均无杠杆、无支点、无平衡重,物料的重量通过滑床式秤架直接加在称重传感器上,皮重、料重一起称,所以秤架结构非常简单,重量也非常轻,制作也非常简单。
图2 WD600皮带秤的滑床式秤架
1-称重传感器;2-传力板;3-校验砝码吊挂孔;4-侧板;5-横梁;6-条形金属板;7-皮带机纵梁
WW200称重给料机的滑床式秤架与WD600皮带秤的滑床式秤架相似,也采用了2个称重传感器。
三、滑床式秤架的响应特性曲线
对于一种新型秤架,我们应该绘制出他的响应特性曲线,一方面可以对其进行归类,看他属于哪一种类型的秤架,另一方面可以对秤架性能的优劣进行评价。滑床式秤架的响应特性曲线见图3。
图3 滑床式秤架的响应特性曲线
1-皮带;2-支承皮带的现有滑床;3-滑床式秤架;4-响应特性曲线AB'C'D
图3是按WD600皮带秤的滑床式秤架的资料绘制的,其实际尺寸为AB=CD=121mm,这表示滑床式秤架3的外沿与相邻支承皮带的现有滑床2的外沿之间的空白段长度;BC=406mm,这表示滑床式秤架沿皮带长度方向的长度。
由图3可见,响应特性曲线的平直部分B'C'相对比较长,是AB(或CD)段长度的三倍还多,因此WD600皮带秤的滑床式秤架的响应特性曲线相当于4托辊悬浮式秤架的响应特性曲线(秤台的长度相当于3倍托辊间距)。
对图3响应特性曲线的分析可以得出两个结论:第一个结论是响应特性曲线与多托辊悬浮式秤架的响应特性曲线完全一致,因此滑床式秤架应归于悬浮式秤架一类,但由于不存在托辊,所以不能叫多托辊,只能另起名为滑床悬浮式秤架;第二个结论是响应特性曲线的平直段较长,属悬浮式秤架中性能最好的一类,因此秤架的性能优越[3]。
四、滑床式秤架的使用
1.滑床式秤架的准直性校准
以WD600皮带秤滑床式秤架为例,其校准过程同采用称重托辊的普通秤架相同,只不过称重托辊换成滑床而已。首先松开皮带,在滑床式秤架前后的支承皮带的现有滑床(或托辊)之间张紧几根线,如支承皮带的是托辊,则要求在滑床式秤架前后各两组托辊,如果支承皮带的是仍是滑床,这要求与秤架前后各两组托辊相应的长度;然后通过抬高或降低滑床式秤架的高度使之准直,垂直高度的偏差应小于0.8mm;最后检查滑床式秤架的中心线是否与皮带输送机的中心线重合。
图4 WD600皮带秤滑床式秤架的准直性校准
1-准直性校准线;2-秤台;3-支承皮带的现有滑床
2.滑床式秤架的校验
同采用称重托辊的普通秤架相同,校验可以采用物料校验、砝码校验和滚链校验。
由于物料流量比较小,物料校验的方法相对较为容易进行,但比重特别轻的物料(如烟丝)由于体积过大,物料校验也有一定难度。
西门子公司的资料中介绍了砝码校验和滚链校验的方法。
WD600皮带秤滑床式秤架的砝码校验方法见图5,在带校验砝码吊挂孔的传力板上吊挂砝码(由于WD600皮带秤滑床式秤架两侧各有一个称重传感器,推测应该在两侧各挂一个重量相等)的砝码即可完成砝码校验。
图5 WD600皮带秤滑床式秤架的砝码校验
1-称重传感器;2-砝码;3-传力板;4-滑床式秤架
WW100称重给料机滑床式秤架滚链校验方法见图6,滚链一般随设备成套供货。
图6 WW100称重给料机滑床式秤架采用的滚链校验
3.称量长度的计算
当采用砝码校验和滚链校验时,需要知道称量长度,计算方法可参考图7。
图7 称量长度的计算
1-皮带;2-支承皮带的现有滑床;3-滑床式秤架
a=b=滑床距离
计算的原则是:称量长度等于秤台长度加相邻滑床距离的一半。这与称量托辊式秤架的计算方法是一致的。我们现在得到的称量长度相当于4托辊悬浮式秤架的数值,只不过4组托辊间中最外侧的两个托辊间的距离等于秤台长度。
五、滑床式秤架的应用场合
从西门子公司的相关资料上看,滑床式秤架的应用场合为比重小的轻物料的微流量或小流量范围的称重及定量给料。如WD600皮带秤介绍应用场合时可用于制造行业中的过程和卸货控制,包括食品、制药和烟草行业。
表1是这几种滑床式秤架的应用场合
由表1可见:其应用场合的物料绝大多数是比重轻的,例如烟草、食品、谷物等;其皮带宽度是比较窄的,虽然有宽达1200mm,但都有300mm的规格;皮带速度虽然有0.2m/s、2.0m/s这样的最大速度,但多数情况下时运行在较低速度下,例如0.005~0.1m/s这样的范围;给料量范围虽然也有18000kg/h、36000kg/h这样的中小流量的范围,但多数情况下时运行在较低流量范围内,如最低的量程可以只有45kg/h;其准确度指标也与大多数皮带秤、称重给料机一致。
6 滑床式秤架的特点
根据资料的介绍和对秤架结构、材料的分析,滑床式秤架具有以下特点:
滑床式秤架属于直接承重的悬浮式秤架,从称量长度的计算公式分析,他相当于双称量托辊组成的多托辊直接承重的悬浮式秤架,性能优于普通的杠杆式秤架、单托辊直接承重的悬浮式秤架,具有称量长度长的优点;
对称量托辊式秤架来说,皮带与不断旋转的称量托辊的接触面是一条线,而且这条线往往是不连续的,而对滑床式秤架来说,皮带与滑床之间的接触面是一整个平面(如图1)或有间隔的平面(如图2),接触面积大,在加上皮带速度慢,传力充分,受力方式接近平台型的静态秤;
安装简单,特别是准直性校准简单,只需秤台上的滑床与秤台前后的滑床在一个平面即可,如为水平安装,长的水准仪校准应该就可以了;
皮带多采用表层为聚氨脂聚酯芯材质,也可按要求选用其他材质,与金属材质的滑床之间的摩擦系数非常小,再加上皮带速度慢、物料负荷轻,相互间的摩擦力非常小,不会因摩擦力过大出现皮带过热或损坏过快的问题;
由于秤架性能好、皮带速度慢、称量精度较高;
相对于称量托辊来说,滑床材质可选不锈钢,且其表面平整,清洗较为方便,更适合于食品、谷物、水果、蔬菜之类对卫生要求高、经常需要用水冲洗的行业采用。
7 结束语
滑床式秤架结构突破了传统称量托辊式秤架离不开称量托辊的束缚,其创新思路值得赞许,在学习国外先进技术的同时,学习创新思路也应该是非常重要的内容。
参考资料:
[1] SIEMENS.SITRANS WW100 Weighfeeders. Operating Instructions. 2010.03.
[2] SIEMENS.西门子WD600安装手册.2008.2.
[3] 方原柏.电子皮带秤[M].北京:冶金工业出版社,2007:17~30.
[635]
[1440]
[5308]
[1008]
[685]
[1840]
[680]
[893]
[736]
[774]

客服
小程序
公众号